YULI-M18DL系列电容式接近开关/传感器

  • 8d4fd45706a5ac263493fc2e09a6eecf

电容式接近开关的工作原理是基于通过检测物体接近引起的电容变化(介电常数或电极距离改变)触发开关动作,可检测导体和非导体介质。

电容式接近开关的核心由两个电极构成,作为‌测量电极‌:通常为开关感应面的一部分,作为电容器的一个极板‌参考电极‌:通常为开关外壳或接地机壳,构成另一个极板。当物体未接近时,两极板间形成固定电容,此时振荡电路处于静止状态。

‌电容变化的触发机制‌,‌导体接近‌:若被测物体为导体(如金属),其作为新的电极进入电场,直接改变电极间距离或面积,导致电容显著增加;‌非导体接近‌:绝缘体(如液体、塑料)通过改变两极板间介电常数(ε)影响电容值,介电常数越大,电容变化越明显。

  • 转速测量
  • 位置测量
  • 接近测量
  • 输出波型为高低电平
  • 低功耗电流:3mA~15mA
  • 宽工作范围:-30℃-125℃         
  • 固定的安装方向,安装方便      
  • 宽工作频率范围: 0Hz-5KHz  
  • 宽电压工作范围:DC4.5V-DC36V
  • 抗振动能力强:IEC60068-2-64-2019
  • 电磁兼容(EMC能力强):EN IEC 61000-6-4:2019、EN IEC 61000-32:2019+A1:2021、EN 61000-6-2:2019
  • 反向短路保护:ISO 16750-2
  • 具有高耐工作环境能力:
  • 宽温度耐受能力,保障可靠性
  • 宽电压工作范围,产品通用性强
  • 检测对象广泛‌:适用于金属、塑料
  • 自动虑除外部干扰信号设计:提高产品稳定性,使用寿命更长
  • 标准化设计:优化产品结构,降低用户使用成本
  • 性能冗余设计
电气参数
参数名称参数
YULI-M18DL-NPN-60-3-NCYULI-M18DL-NPN-60-3-NOYULI-M18DL-PNP-60-3-NCYULI-M18DL-PNP-60-3-NO
电源电压符合标准:典型电源DC12V    ISO 16750-2        4.5 V to 36V
功耗电流3mA-15mA 与电源电压有关
反向保护电压-72 V
短路保护12 V
信号类型NPN 常闭上电低电平,LED灯发光当测量目标体靠近输出低高电平 ,LED灯灭NPN 常开上电高电平,LED灯灭,当测量目标体靠近输出低电平  LED灯亮PNP 常闭上电低电平,LED灯发光,当测量目标体靠近输出低高电平  LED灯灭PNP常开上电高电平,LED灯灭,当测量目标体靠近输出低电平  LED灯亮
信号输出外径Φ4.5mm 导体0.2², 3芯电缆线输出,   棕:VC    黑:out    蓝:GND
输出高电平≦(VC-0.3)V
输出低电平≦0.3V
信号触发体金属齿轮或金属片,金属块,塑料,液体
工作频率0-5KHZ
工作温度-30℃~125℃
线长典型 1000mm
防护等级IP67

YULI-M18DL系列

image

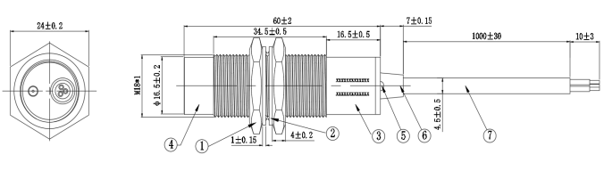
单位:mm

序号1234567
名称螺母螺母垫片M18*不锈钢外壳ABS塑料前段LED状态指示灯ABS塑料后端3芯0.2mm输出电缆线

典型应用1:转速测量    

image
image

S=0.8~10mm(可根据需要调节  滑变器)

典型应用2:接近测量

image

M:材质(包含金属与非金属固态与液态)

S:测量气隙5~20mm(与M的材质有关,可调节滑变器)

滚动至顶部