电感式接近开关的工作原理基于电磁感应,当金属物体靠近时,其内部产生涡流导致振荡电路衰减,从而触发开关信号。
产品简述
电感式接近开关主要由振荡器、检测线圈(产生交变磁场)、信号处理电路和输出级组成。振荡器产生高频交流电,使检测线圈周围形成交变磁场。当金属物体进入该磁场时,会因电磁感应产生涡流(对非磁性金属)或磁滞损耗(对磁性金属)涡流或磁滞效应会吸收振荡能量,导致磁场衰减、振荡减弱或停振。这种变化被后级电路检测并转换为电信号。信号处理电路将能量衰减程度与预设阈值比较,驱动输出级(如晶体管或晶闸管)切换开关状态(通/断)。
典型应用
- 转速测量
- 位置测量
- 接近测量
产品特点
- 输出波型为高低电平
- 低功耗电流:3mA~15mA
- 宽工作范围:-30℃-125℃
- 固定的安装方向,安装方便
- 宽工作频率范围: 0Hz-5KHz
- 宽电压工作范围:DC4.5V-DC36V
- 抗振动能力强:IEC60068-2-64-2019
- 电磁兼容(EMC能力强):EN IEC 61000-6-4:2019、EN IEC 61000-32:2019+A1:2021、EN 61000-6-2:2019
- 反向短路保护:ISO 16750-2
为客户创造价值
- 具有高耐工作环境能力:
- 宽温度耐受能力,保障可靠性
- 宽电压工作范围,产品通用性强
- 检测对象广泛:适用于金属、塑料
- 自动虑除外部干扰信号设计:提高产品稳定性,使用寿命更长
- 标准化设计:优化产品结构,降低用户使用成本
- 性能冗余设计
| 电气参数 | ||||
| 参数名称 | 参数 | |||
| YULI-M18DG-NPN-60-3-NC | YULI-M18DG-NPN-60-3-NO | YULI-M18DG-PNP-60-3-NC | YULI-M18DG-PNP-60-3-NO | |
| 电源电压 | 符合标准:典型电源DC12V ISO 16750-2 4.5 V to 36V | |||
| 功耗电流 | 3mA-15mA 与电源电压有关 | |||
| 反向保护电压 | -72 V | |||
| 短路保护 | 12 V | |||
| 信号类型 | NPN 常闭上电低电平,LED灯发光当测量目标体靠近输出低高电平 ,LED灯灭 | NPN 常开上电高电平,LED灯灭,当测量目标体靠近输出低电平 LED灯亮 | PNP 常闭上电低电平,LED灯发光,当测量目标体靠近输出低高电平 LED灯灭 | PNP常开上电高电平,LED灯灭,当测量目标体靠近输出低电平 LED灯亮 |
| 信号输出 | 外径Φ4.5mm 导体0.2²,3芯电缆线输出 棕:VC 黑: out 蓝:GND | |||
| 输出高电平 | ≦(VC-0.3)V | |||
| 输出低电平 | ≦0.3V | |||
| 信号触发体 | 金属齿轮或金属片,金属块 | |||
| 工作频率 | 0-5KHZ | |||
| 工作温度 | -30℃~125℃ | |||
| 线长 | 典型 1000mm | |||
| 防护等级 | IP67 | |||
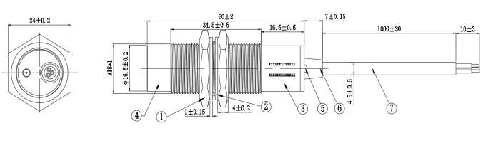
结构尺寸图
YULI-M18DG系列

单位:mm
| 序号 | 1 | 2 | 3 | 4 | 5 | 6 | 7 |
| 名称 | 螺母 | 螺母垫片 | M18*不锈钢外壳 | ABS塑料前段 | LED状态指示灯 | ABS塑料后端 | 3芯0.2mm输出电缆线 |
工作原理图
典型应用1:转速测量


S=0.8~8mm(与齿轮材质,齿轮宽度T有关)
典型应用2:接近测量

M:金属信号触发体
S:测量气隙5~20mm(与M的材质有关)
