产品简述
YL-DJHE-4601H系列位置传感器 是根据霍尔效应设计的一类用来测目标体位置的传感器。传感器设计了3相双极性锁存霍尔效应集成电路(IC)、使用永磁磁体作为信号发生体,永磁体的磁极发生变化,对应的霍尔IC输出信号发生相应的翻转(如由高电平转换为低电平输出,或由低电平输出转换为高电平输出)。
典型应用
- 电机位置测量
- 电机转速测量
- 位置测量
- 接近测量
产品特点
- 输出波型为高低电平
- 固定的安装方向,安装方便
- 宽电压工作范围:DC4.5V-DC72V
- 抗振动能力强:IEC60068-2-64-2019
- 电磁兼容(EMC能力强)
为客户创造价
- 具有高耐工作环境能力:
- 宽温度耐受能力,保障可靠性
- 宽电压工作范围
- 产品通用性强稳定性高
- 标准化设计:
- 性能冗余设计

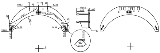
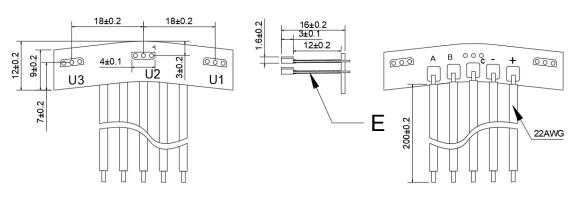
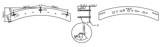
结构尺寸图
YL-DJHE-4601H-A

单位:mm
| 序号 | U1 | U2 | U3 | D | E | A | B | C | + | – |
| 名称 | 霍尔IC A | 霍尔IC B | 霍尔IC C | pcb | 绝缘管套 | 霍尔IC A焊点 | 霍尔IC B焊点 | 霍尔IC C焊点 | 电源正 | 电源负 |
YL-DJHE-4601H-B

| 序号 | U1 | U2 | U3 | D | E | A | B | C | + | – |
| 名称 | 霍尔IC A | 霍尔IC B | 霍尔IC C | pcb | 绝缘管套 | 霍尔IC A焊点 | 霍尔IC B焊点 | 霍尔IC C焊点 | 电源正 | 电源负 |

| 序号 | U1 | U2 | U3 | D | E | A | B | C | + | – |
| 名称 | 霍尔IC A | 霍尔IC B | 霍尔IC C | pcb | 绝缘管套 | 霍尔IC A焊点 | 霍尔IC B焊点 | 霍尔IC C焊点 | 电源正 | 电源负 |
工作原理图
YL-DJHE-4601H–A

YL-DJHE-4601H-B

YL-DJHE-4601H-C

YL-DJHE-4601H-D

YL-DJHE-4601H-D



